Contact Apex Fasteners

APEX offers full-service design, engineering and manufacturing to your specifications. Our custom fasteners have enjoyed great success supplying all types and sizes of businesses in most sectors of industry.
Contact Apex Fasteners with your hardware requirements

Authorized Distributor for:

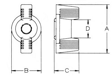
Nylon Locking Deco Wing Nuts

dcowngnt.jpg
dcowngdw.jpg

Similar to our standard Deco Wing nut, except with a molded-in locking thread. Use for applications which require higher torque, vibration resistance or a more secure assembly.

Stocked in Nylon 6/6 UL 94V2 - Can be furnished in: Acetal

Product Number Description A B C D
PMPNLDWN00440 440 0.625 0.375 0.312 0.234
PMPNLDWN00632 632 0.625 0.375 0.312 0.234
PMPNLDWN00832 832 0.625 0.375 0.312 0.234
PMPNLDWN01024 1024 0.875 0.500 0.437 0.312
PMPNLDWN01032 1032 0.875 0.500 0.437 0.312
PMPNLDWN25020 1/4-20 1.171 0.625 0.531 0.375
PMPNLDWN31218 5/16-18 1.562 0.984 0.453 N/A



APEX FASTENERS, Inc - 15858 Business Center Drive - Irwindale, CA 91706 USA
APEX Fasteners supplies standard and custom screws, nut retainers, shoulder screws, plastites and taptites, all types of rivets, spring steel fasteners and special stampings, sems screws in standard, fractional or metric to electronics, aviation and other OEM industries worldwide. ApexFasteners.com custom manufactures screw machine components for electronic enclosure hardware as well as cold forming and cold headed specials for assembly and production requirements.
Tel: (626) 962-2219 - info@apexfasteners.com
Copyright © 2026 Apex Fasteners. Designed by Pope Productions